- Get link
- X
- Other Apps
- Get link
- X
- Other Apps
h/t s2upid
Laser scanning devices and methods with touch detection
Laser scanning devices and methods with touch detection
(Patent No. 10,474,296)
- Filed: July 12, 2018
- Granted: November 12, 2019
- Inventor: Chao Chen
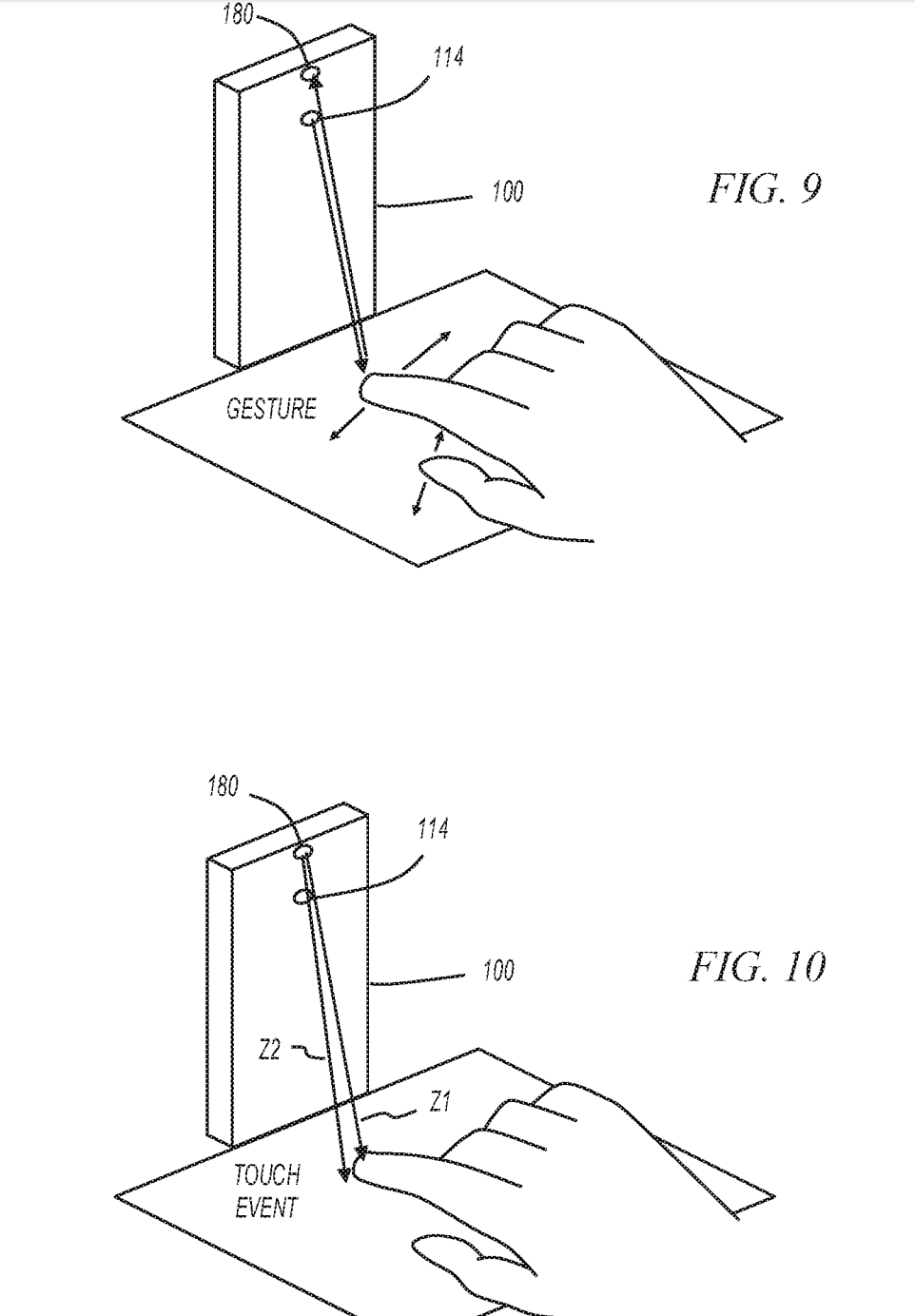
- Abstract: Laser scanning devices and methods are described that provide for improved touch detection. The laser scanning devices and methods determine if an object is touching a touch surface by determining if a halo region having corresponding locally high amplitude signals is proximate to the object. The presence of such a halo region can confirm that the object is touching surface and not just hovering above the surface. Furthermore, the presence of the halo region can confirm object touching even for objects having significantly different sizes. As one example, the determined presence of the halo region can be used to reliably determine that a human finger is touching the surface even though human fingers can have significantly different sizes.
Smart pulsing in regions of interest in scanned beam 3D sensing systems
(Patent No. 10,474,248)
- Filed: February 12, 2018
- Granted: November 12, 2019
- Inventors: Viswanathan; P. Selvan (Bellevue, WA), Honkanen; Jari (Monroe, WA)
- Abstract: A scanned beam 3D sensing system includes smart infrared pulsing to detect objects in a field of view. Infrared laser light pulses are emitted at a first density in a field of view and reflections are detected. Times of flight of the infrared laser light pulses are measured to determine if an object is in the field of view. The density of the infrared pulses may be increased based on various factors. The higher density infrared pulses may be scanned in a region of interest that is a subset of the field of view. Power consumption is reduced by reducing the density of laser pulses when possible.
- Get link
- X
- Other Apps

Comments
Post a Comment